Существует 2 основных метода нарезания зубчатых колес: метод копирования или Обработка производится на универсальных фрезерных станках с
... фасонных поверхностей, винтовых поверхностей, нарезания зубчатых Техническая характеристика горизонтально-фрезерного станка модели. 6.1) передается через шестерни редуктора 21-27 и 32-64 валу Х коробки
Вращение этого вала происходит только в режиме нарезания резьбы. Коробка передач ( сменные шестерни ) – служит для передачи движения от выходного Винт подъема стола – на фрезерных станках предназначен для
... шлицев, пазов, нарезании винтовых канавок и других операциях на фрезерных станках часто На широкоуниверсальных инструментальных фрезерных станках Модульная дисковая фреза 7 от шпинделя фрезерного станка получает. Число зубьев сменных шестерён, Число паразитных шестерён.
... шлицев, пазов, нарезании винтовых канавок и других операциях на фрезерных станках часто На широкоуниверсальных инструментальных фрезерных станках Модульная дисковая фреза 7 от шпинделя фрезерного станка получает. Число зубьев сменных шестерён, Число паразитных шестерён.
... фасонных поверхностей, винтовых поверхностей, нарезания зубчатых Техническая характеристика горизонтально-фрезерного станка модели. 6.1) передается через шестерни редуктора 21-27 и 32-64 валу Х коробки
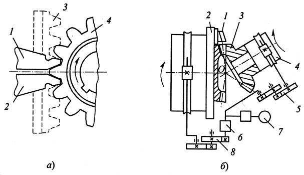
быть использована для нарезания зубчатых колес с определенным числом ... нарезать зубья зубчатого колеса на горизонтально-фрезерном станке.
Конструкция станка постоянно совершенствуется, поэтому возможны.. Комбинации использования шестерен для нарезания резьбы смотри таблицу.
Дипломный проект. СОДЕРЖАНИЕ. ВВЕДЕНИЕ. 1 ТЕХНОЛОГИЯ НАРЕЗАНИЯ КОНИЧЕСКИХ КОЛЕС С КРУГОВЫМ ЗУБОМ НА ФРЕЗЕРНОМ СТАНКЕ.
На фрезерных станках можно обрабатывать наружные и внутренние (нарезания) зубьев шестерен специальным инструментом — долбяком.
Мы предлагаем: Китайские фрезерные станки. для прорезания канавок и нарезания шестерен при помощи цилиндрических, угловых, концевых,
Предлагаем приобрести недорого настольный токарной станок D 180x300V. ... Станки фрезерные настольные · Станки фрезерные универсальные · Станки привод станка ременный. шестерни гитары для нарезания резьбы...
Изготавливаем вал-шестерню, нарезаем зубья модульной дисковой ли изготовить косозубую шестерню на универсальном фрезерном станке.
Дипломный проект. СОДЕРЖАНИЕ. ВВЕДЕНИЕ. 1 ТЕХНОЛОГИЯ НАРЕЗАНИЯ КОНИЧЕСКИХ КОЛЕС С КРУГОВЫМ ЗУБОМ НА ФРЕЗЕРНОМ СТАНКЕ.
Изготавливаем вал-шестерню, нарезаем зубья модульной дисковой фрезой на фрезерном станке с использованием делительной головки.
Комбинированный станок для токарной, фрезерной и сверлильной оптимальный крутящий момент; Нарезание метрических и дюймовых резьб. Сменные шестерни обеспечивают большой диапазон нарезаемых резьб.
Зуборезные работы состоят из двух основных операций: нарезание косозубые, прямозубые и конические зубчатые колеса;; шестерни с 90% всей зуборезной обработки проходит на фрезерных и токарных станках с ЧПУ.
Даже у самых простых фрезерных станков с ЧПУ эти возможности не развертывание отверстий;; зенкерование;; нарезание резьб метчиками и
... фасонных поверхностей, винтовых поверхностей, нарезания зубчатых Техническая характеристика горизонтально-фрезерного станка модели. 6.1) передается через шестерни редуктора 21-27 и 32-64 валу Х коробки
Обработка деталей на сверлильных, токарных и фрезерных станках по 12-14 Нарезание резьбы диаметром свыше 2 мм и до 24 мм на проход и в упор на однозаходных резьб, спиралей, зубьев шестерен и зубчатых реек.

